2026-02-28
2026-02-28
2026-02-28
了解一下,冷凍雞翅進口報關流程是這樣的;冷凍雞翅進口報關流程|進口冷凍雞翅尖報關代理|雞翅中進口代理報關行|冷凍雞翅根進口清關公司。
臻力供應鏈是一家為企業提供專業的“全球進口一條龍服務”的物流供應鏈服務公司。從2004年公司成立起,經過15年的發展,目前在擁有10家公司,覆蓋沿海國內的主要口岸,從華北的大連港一直延伸到華南的深圳港。
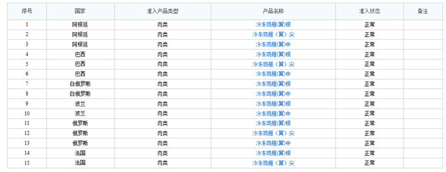
冷凍雞翅允許進口的國家有:阿根廷、巴西、白俄羅斯、波蘭、俄羅斯、法國、泰國、智利,其中最常進口的是“阿根廷、巴西、俄羅斯、智利”。(如需了解冷凍雞肉、雞爪等進口準許國家,您可以提供貨物的海關編碼給我們幫您查詢)。


冷凍雞翅進口報關
作為全球的雞肉消費大國,禽肉類進口逐年上升,那么禽肉類進口商如何從國外進口,需要哪些資質才能進口,進口報關流程是怎樣的?以下是冷凍雞翅進口報關流程,希望能幫到您!

冷凍雞翅進口報關
冷凍禽肉類進口報關,國內進口商的企業資質要求:
(1)進出口經營權;
(2)肉類的經營范圍及肉類資質;
(3)進口食品進出口商備案企業備案(進口辦理);
(4)海關企業年報申報、海關無紙化簽約、電子委托申報簽約(進口辦理)
冷凍雞翅進口報關流程:
簽訂合同--食品中文標簽審核--備貨 --準備冷凍雞翅進口報關單證--發貨到港口--換單--報檢--報關--交稅--貼標簽 -- 申請商檢查驗---貨物放行
關于冷凍雞爪進口報關:
優質凍雞爪主要以巴西、阿根廷、智利、澳大利亞為主,品質好,個頭比較大。隨著中智、中澳自貿協定實 施,進口冷凍肉類關稅逐步下調,進口成本更低。冷凍雞翅進口報關專業代理肉類食品一般貿易進口報關,為企業提供各種冷凍肉類產品進口代理服務,冷凍牛肉、冷凍羊肉冷凍雞腳、冷凍雞爪、冷凍雞翅、冷凍雞腿等,我司在肉類凍柜進口清關方面擁多年進口報關經驗,凍品進口報關流程非常熟悉,歡迎咨詢我們!
冷凍雞翅等凍品進口報關有些單證我司可以代辦,咨詢了解方式:點擊我司網站網頁右下角的咨詢框【在線咨詢】;或者撥打我司全國免費咨詢電話(注:如是下班時間,可給我們留言,我們的客服小姐姐會在看到的第一時間給您致電!上班時間:8:45-18:00)
注明:本文圖片來源于網絡,如有侵權請聯系我們刪除。
芝麻,故名“胡麻”,有補血生津、潤腸、延緩細胞衰老之效,可用于腎虧虛引起的頭暈眼花、須發早白等癥。一般進口芝麻都通過海運的方式運輸到國內港口,而海運運輸時間較長,所以發貨前一定要做好除濕、晾干工作,避
2026-02-28
瑪瑙的產地有:中國、印尼、印度、巴西、馬達加斯加、美國、埃及、澳大利亞、墨西哥等國,墨西哥、美國和納米比亞還產有花邊瑪瑙,美國黃石公園、懷俄明州及蒙大拿州還產有風景瑪瑙。下面,廣州臻力進口報關公司為
2026-02-28
目前夏威夷果進口準入國家有:澳大利亞、巴西、德國、津巴布韋、肯尼亞、美國、南非、日本、泰國、危地馬拉、越南。19年堅果進口報關行-廣州臻力將會在本文介紹澳大利亞夏威夷果進口報關手續,還有公司一般貿易
2026-02-28
上海代理租賃設備進口報關公司哪家好?現在有很多進口報關公司,然而網上的信息魚龍混雜的,許多進口商不知道如何挑選進口報關公司,不知道上海代理租賃設備進口報關公司哪家好?上海代理租賃設備進口報關公司推薦萬
2026-02-28
上海涂料進口報關資料需要什么?不知道該怎么辦?找廣州臻力就對了,廣州臻力公司有各種涂料進口報關代理案例,對于各類化工品涂料進口報關流程和注意事項都很有經驗,已有13萬+操作案例,19年化工品進口報
2026-02-28
橄欖油進口如何進行報關清關?橄欖油進口清關代理!橄欖油作為食用油的一支新生力量,人物它有,橄欖油進口報關代理說到:橄欖油有著其他食用油沒有具備的諸多功效,比如:獨特的口味、美容功效、豐富的營養成分和防
2026-02-28
隨著國際貿易的增多,越來越多的公司想做啤酒進口,但是比知道啤酒進口報關所需手續有哪些,流程是什么,會有哪些需要注意的呢?一、啤酒進口報關手續商檢手續報檢時需提供產地證、衛生證書、合同、invoice、
2026-02-28
2019年11月11日,一批從日本橫濱進口的面膜、洗面奶、面霜以及化妝水,在上海吳淞成功進口清關,該客戶是他朋友介紹過來咨詢的,我們在接到該貨物后,非常迅速安排處理貨物清關,準備相關資料,與上海海關對
2026-02-28

注明:本網站圖片來源于網絡,如有侵權請聯系我們刪除。